Pencahayaan LED Peralatan Periferal Sistem Visi Seri CA-D

Lampu Sudut RendahMenghadapkan LED dengan sudut insiden dangkal untuk menghasilkan penerangan bersudut rendah
CA-DLR

Aplikasi
Pengelupasan permukaan/tepi
Biasanya, cacat permukaan dan tepi sulit dideteksi dengan lampu standar karena perubahan kontras sangat kecil. Lampu sudut rendah mempertegas perubahan fisik pada target sehingga mempermudah deteksi.

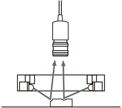
Teknik penerangan lampu sudut rendah
Lampu sudut rendah menghasilkan cahaya langsung pada sudut dangkal ke target. Umumnya, inspeksi tepi sebuah target atau cacat fisik pada permukaan sulit dideteksi dengan pencahayaan langsung standar. Karena arah cahaya nyaris paralel terhadap permukaan, perubahan apa pun terhadap ketinggian permukaan membelokkan jalur normal cahaya ke kamera, dengan begitu mempertegas perubahan tersebut.
Penataan kamera/lampu

Aplikasi
Tepi mengelupas
Dengan pencahayaan

Dengan pencahayaan sudut rendah

Bibir botol Tepi mengelupas tidak seragam
Dengan pencahayaan standar

Dengan pencahayaan sudut rendah

